
Т50-12 50A/1200V тиристор силовий, низькочастотний, кремнієвий, дифузійний, структури p-n-p-n, штирьовий
373,20 ₴
- В наявності
- Код: Т50-12
- +380 (95) 754-01-01Vodafone
- +380 (94) 925-37-07Інтертелеком
Т50-12

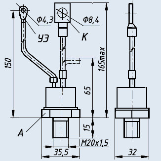
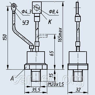
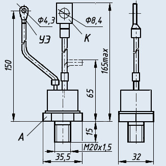
Тиристор Т50-12 силовий, напівпровідниковий, низькочастотний, кремнієвий, дифузійний, структури p-n-p-n, штирьового виконання з гнучкими висновками.
Призначений для роботи в силових ланцюгах постійного та змінного струму частотою до 500 Гц та силою струму не більше 50 А.
Тиристор силовий Т50-12 використовується у різних силових електротехнічних пристроях, у випрямлячах, інверторах, перетворювачах, імпульсних регуляторах, а також у ланцюгах постійного та змінного струму різного обладнання загального призначення.
Випускаються в металостеклянному корпусі штирьової конструкції з гнучким силовим та керуючим висновком.
Анодом є основа, позначення типономіналу та полярності силових висновків наводиться на корпусі тиристора.
Охолодження повітря природне або примусове.
Тип охолоджувача, що застосовується: О171-80.
Тиристор допускає експлуатацію за температури навколишнього середовища від -50 до +60 °С.
Силовий тиристор Т50 випускається у кліматичних виконаннях «УХЛ» категорії розміщення «2» та «Т» категорії розміщення «3» за ГОСТ 15150-69 та ГОСТ 15543-70.
За міцністю та стійкістю до впливу в експлуатації механічних навантажень тиристори допускають дію синусоїдальної вібрації в діапазоні частот 1-100 Гц із прискоренням 49 м/с2 та одиночних ударів тривалістю 50 мс із прискоренням 39,2 м/с2.
Габаритні розміри:
- загальна довжина – 175 мм;
- Довжина шпильки - 15 мм;
- різьблення - М20х1,5.
Маса тиристора трохи більше 190 р.
Категорія якості: ВТК.
Технічні умови: ТУ 16-529.793-73.
Розшифровка маркування силового тиристора:
Т50-12
Т – тиристор низькочастотний;
50 - число, що дорівнює значенню граничного струму у відкритому стані в амперах;
12 - число, що позначає клас за напругою, що повторюється, в сотнях вольт.
Технические характеристики тиристоров низкочастотных штыревого исполнения Т50:
| Наименование тиристора |
Максимально допустимые значения параметров при Тп=25°С | Значения параметров при Тп=25°С | Tj | ||||||||||||||
|---|---|---|---|---|---|---|---|---|---|---|---|---|---|---|---|---|---|
| IT(AV) | UDRM/URRM | IDRM/IRRM | ITSM | rT | (duD/dt)crit | (diT/dt)crit | UTM | UT(TO) | IL | IH | IGT | UGT | td | tq | Rthjc | ||
| А | В | мА | А | МОм | В/мкс | А/мкс | В | В | мА | мА | мА | В | мкс | мкс | °С/Вт | °С | |
| Т50-1 | 50 | 100 | 15 | 1500 | - | 20…1000 | 40…200 | 1,75 | - | 500 | 220 | 300 | 5 | 5 | 30…250 | 0,5 | -60…+125 |
| Т50-2 | 50 | 200 | 15 | 1500 | - | 20…1000 | 40…200 | 1,75 | - | 500 | 220 | 300 | 5 | 5 | 30…250 | 0,5 | -60…+125 |
| Т50-3 | 50 | 300 | 15 | 1500 | - | 20…1000 | 40…200 | 1,75 | - | 500 | 220 | 300 | 5 | 5 | 30…250 | 0,5 | -60…+125 |
| Т50-4 | 50 | 400 | 15 | 1500 | - | 20…1000 | 40…200 | 1,75 | - | 500 | 220 | 300 | 5 | 5 | 30…250 | 0,5 | -60…+125 |
| Т50-5 | 50 | 500 | 15 | 1500 | - | 20…500 | 40…70 | 1,75 | - | 500 | 220 | 300 | 5 | 5 | 70…250 | 0,5 | -60…+125 |
| Т50-6 | 50 | 600 | 15 | 1500 | - | 20…500 | 40…70 | 1,75 | - | 500 | 220 | 300 | 5 | 5 | 70…250 | 0,5 | -60…+125 |
| Т50-7 | 50 | 700 | 15 | 1500 | - | 20…500 | 40…70 | 1,75 | - | 500 | 220 | 300 | 5 | 5 | 70…250 | 0,5 | -60…+125 |
| Т50-8 | 50 | 800 | 15 | 1500 | - | 20…500 | 40…70 | 1,75 | - | 500 | 220 | 300 | 5 | 5 | 70…250 | 0,5 | -60…+125 |
| Т50-9 | 50 | 900 | 15 | 1500 | - | 20…500 | 40…70 | 1,75 | - | 500 | 220 | 300 | 5 | 5 | 100…250 | 0,5 | -60…+125 |
| Т50-10 | 50 | 1000 | 15 | 1500 | - | 20…500 | 40…70 | 1,75 | - | 500 | 220 | 300 | 5 | 5 | 100…250 | 0,5 | -60…+125 |
| Т50-11 | 50 | 1100 | 15 | 1500 | - | 20…500 | 40…70 | 1,75 | - | 500 | 220 | 300 | 5 | 5 | 100…250 | 0,5 | -60…+125 |
| Т50-12 | 50 | 1200 | 15 | 1500 | - | 20…500 | 40…70 | 1,75 | - | 500 | 220 | 300 | 5 | 5 | 100…250 | 0,5 | -60…+125 |
| Т50-13 | 50 | 1300 | 15 | 1500 | - | 20…500 | 40…70 | 1,75 | - | 500 | 220 | 300 | 5 | 5 | 100…250 | 0,5 | -60…+125 |
| Т50-14 | 50 | 1400 | 15 | 1500 | - | 20…500 | 40…70 | 1,75 | - | 500 | 220 | 300 | 5 | 5 | 100…250 | 0,5 | -60…+125 |
Условные обозначения электрических параметров низкочастотных тиристоров:
• IT(AV) - Максимально допустимый средний ток в открытом состоянии.
• UDRM - Максимальное повторяющееся импульсное напряжение в закрытом состоянии.
• URRM - Максимальное повторяющееся импульсное обратное напряжение.
• IDRM - Повторяющийся импульсный ток в закрытом состоянии.
• IRRM - Повторяющийся импульсный обратный ток.
• ITSM - Ударный ток в открытом состоянии.
• rT - Динамическое сопротивление тиристора.
• (dVD/dt)crit - Критическая скорость нарастания напряжения в закрытом состоянии.
• (diT/dt)crit - Критическая скорость нарастания тока в открытом состоянии.
• UTM - Импульсное напряжение в открытом состоянии.
• UT(TO) - Пороговое напряжение тиристора.
• IL - Ток включения тиристора.
• IH - Ток удержания тиристора.
• IGT - Отпирающий постоянный ток управления.
• UGT - Отпирающее постоянное напряжение управления.
• td - Время задержки включения.
• tq - Время выключения.
• Rthjc - Тепловое сопротивление переход-корпус тиристора.
• Tj - Температура перехода тиристора.
| Основні | |
|---|---|
| Країна виробник | Україна |
| Максимальна імпульсна напруга в закритому стані | 1000 В |
| Максимальний зворотний струм | 80 А |
| Матеріал корпусу | Метал |
| Охолодження | Примусове |
| Спосіб монтажу | Різьбовий |
| Тип тиристора | Діак |
| Користувальницькі характеристики | |
| RMS on-current state | 80А |
| VDRM repetitive peak off-state voltage: | 1200В |
| Технічна інформація: | завантажити PDF файл |
- Ціна: 373,20 ₴
